Budapesti Üzletünk

Budapest, 1106 Jászberényi út 43.

+3630 556 8018

invictus@invictusburkolat.hu

H-P : 10:00-18:00 | Szo: 10:00-14:00 | V: ZÁRVA

Budaörsi Üzletünk

Budaörs, 2040 Törökbálinti utca 23.

+3630 566 4882

budaors@invictusburkolat.hu

H-P : 9:00-17:00 | Szo: 10:00-14:00 | V: ZÁRVA

Beépítődoboz Geberit ONE falsíkba süllyesztett tükrös szekréBeépítődoboz Geberit ONE falsíkba süllyesztett tükrös szekré
GE-1119430011
GE-1119430012
GE-1119430013
GE-1119430014

Beépítődoboz Geberit ONE falsíkba süllyesztett tükrös szekrényhez 94,5x93,5 cm 111.943.00.1

Fogyasztói ár123630,00 Ft
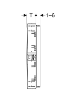
Beépítődoboz Geberit ONE falsíkba süllyesztett tükrös szekrényhez 94, 5x93, 5 cm 111. 943. 00. 1Felhasználási területek  Szárazépítéshez Teljes belmagasságú előtétfalakba történő beépítésre Teljes belmagasságú szerelőfalakba történő beépítésre Teljes belmagasságú Geberit Duofix rendszerfalakba történő beépítéshez Előfalakhoz és válaszfalakhoz való belső magasságú Geberit GIS tartósín rendszerekbe történő beépítésre 90 cm magasságú Geberit ONE tükrös szekrényekhezTulajdonságok  Szélesség: 94, 5 cm Magasság: 93, 5 cm Mélység: 14, 5 cm Tükrös szekrényhez való rögzítőhoroggal, állítható Elektromos csatlakozás rögzítéssel Burkolat ütközők fém táblalemezből, horganyzottSzállítási terjedelem 2 sarokprofil állványhoz vagy Geberit GIS profilhoz Törmelék elleni védőfedél Rögzítőanyag
Customer Reviews